Motorcycling News
Big Sid’s son continues the tradition.
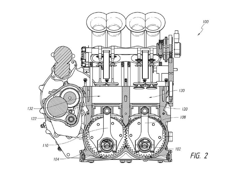
Dan Gurney designs engine for the 2-wheeled world.
Honda teases a MotoGP powered car.
Racing News
Moto2/MotoGP from San Marino.
Videos
We had to suspend our YouTube videos due to financial constraints. If you’d like to support us so we can resume our videos and continue to do The DawgHouse please click here!
You can find all our past videos on our page on YouTube – please subscribe!
Podcast: Play in new window | Download (Duration: 1:00:22 — 42.1MB)
Subscribe: RSS



